标题:
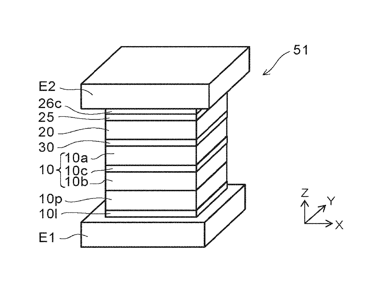
Strain sensing element, pressure sensor, microphone, blood pressure sensor, and touch panel
授权日:
2019-09-17
公开(公告)号:
US10413198
申请日:
2017-12-19
公开(公告)日:
2019-09-17
当前申请(专利权)人:
KABUSHIKI KAISHA TOSHIBA
发明人:
FUJI, YOSHIHIKO | FUKUZAWA, HIDEAKI | KAJI, SHIORI | HORI, AKIO | NAGATA, TOMOHIKO | HARA, MICHIKO | HIGASHI, YOSHIHIRO | YUZAWA, AKIKO
简单同族:
JP2015061056A | JP6173854B2 | TW201520576A | US10413198 | US20150082918A1 | US20180116535A1 | US9872624
简单同族成员数量:
7
简单同族被引用专利总数:
12
诉讼案件数:
0
法律状态/事件:
授权