首页
专利数据库
产业人才
行业动态
产业政策法规
维权援助
个人中心
登录/注册
详情
文本
图像
标题:
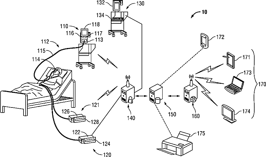
Systems and methods for monitoring patients on ventilation
授权日:
1900-01-01
公开(公告)号:
US20150018648A1
申请日:
2013-07-15
公开(公告)日:
2015-01-15
当前申请(专利权)人:
COVIDIEN LP
发明人:
BOYER, ROBERT T. | MILNE, GARY S.
简单同族:
US20150018648A1
简单同族成员数量:
1
简单同族被引用专利总数:
6
诉讼案件数:
0
法律状态/事件:
撤回 | 权利转移