标题:
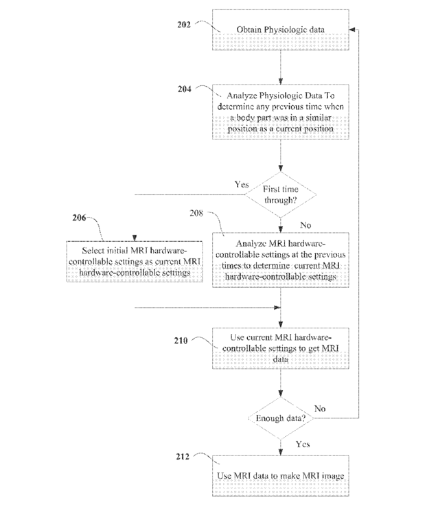
A method and device for magnetic resonance imaging data acquisition guided by physiologic feedback
授权日:
1900-01-01
公开(公告)号:
US20170332981A1
申请日:
2015-10-27
公开(公告)日:
2017-11-23
当前申请(专利权)人:
THE TRUSTEES OF THE UNIVERSITY OF PENNSYLVANIA
发明人:
WITSCHEY, WALTER R.T. | CONTIJOCH, FRANCISCO | ELLIOTT, MARK A. | GUALTIERI, EUGENE E.
简单同族:
US20170332981A1 | WO2016069602A1
简单同族成员数量:
2
简单同族被引用专利总数:
6
诉讼案件数:
0
法律状态/事件:
撤回 | 权利转移