首页
专利数据库
产业人才
行业动态
产业政策法规
维权援助
个人中心
登录/注册
详情
文本
图像
标题:
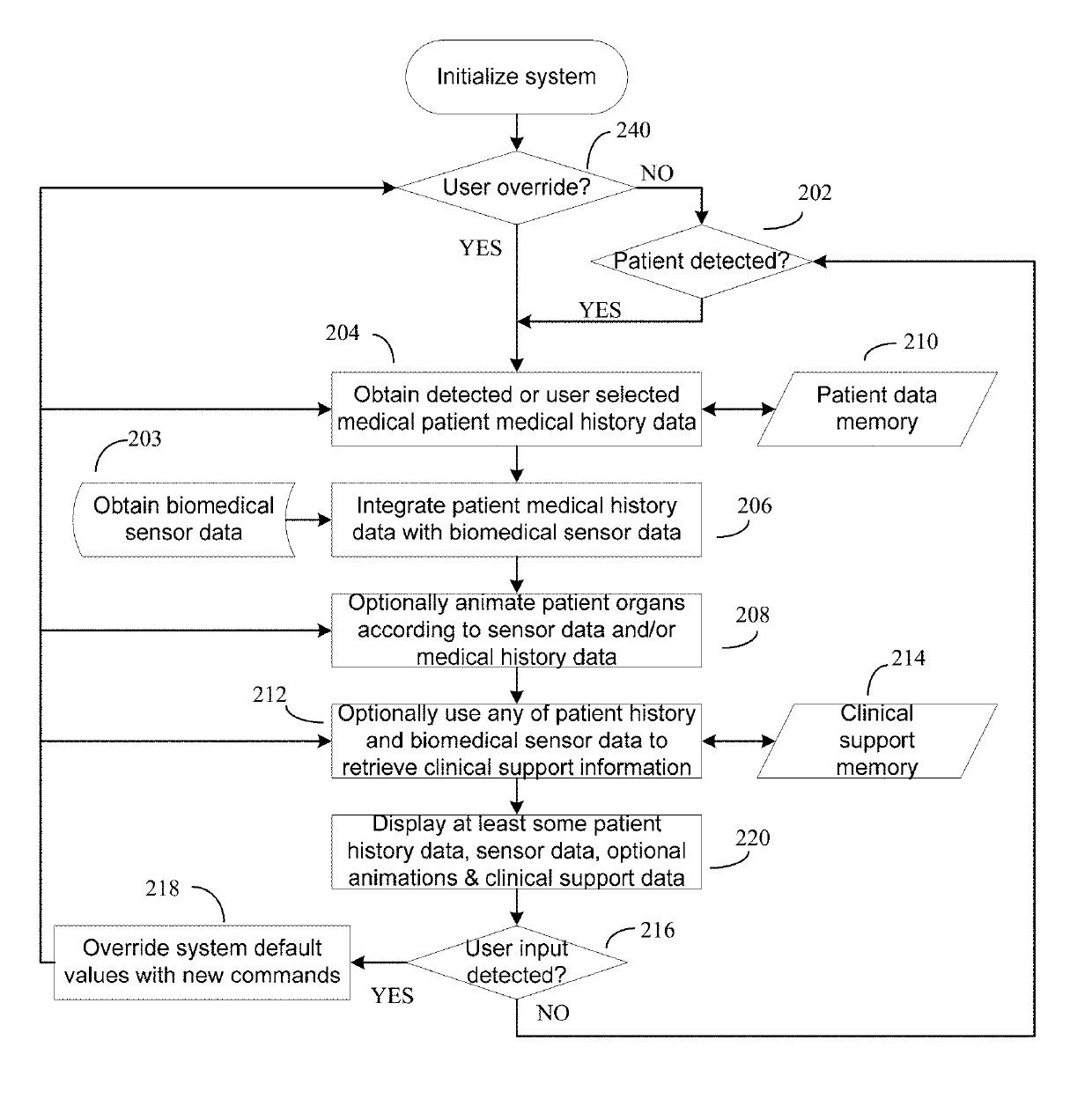
Augmented reality systems for time critical biomedical applications
授权日:
1900-01-01
公开(公告)号:
US20190302460A1
申请日:
2018-03-28
公开(公告)日:
2019-10-03
当前申请(专利权)人:
CLOUD DX, INC., A CORPORATION OF DELAWARE
发明人:
KAUL, ROBERT | KOHLI, SANDEEP S. | WIDMAN, DAVID | ROSS-HOWE, SARA
简单同族:
US10642046 | US20190302460A1 | WO2019191047A1
简单同族成员数量:
3
简单同族被引用专利总数:
0
诉讼案件数:
0
法律状态/事件:
授权 | 权利转移