首页
专利数据库
产业人才
行业动态
产业政策法规
维权援助
个人中心
登录/注册
详情
文本
图像
标题:
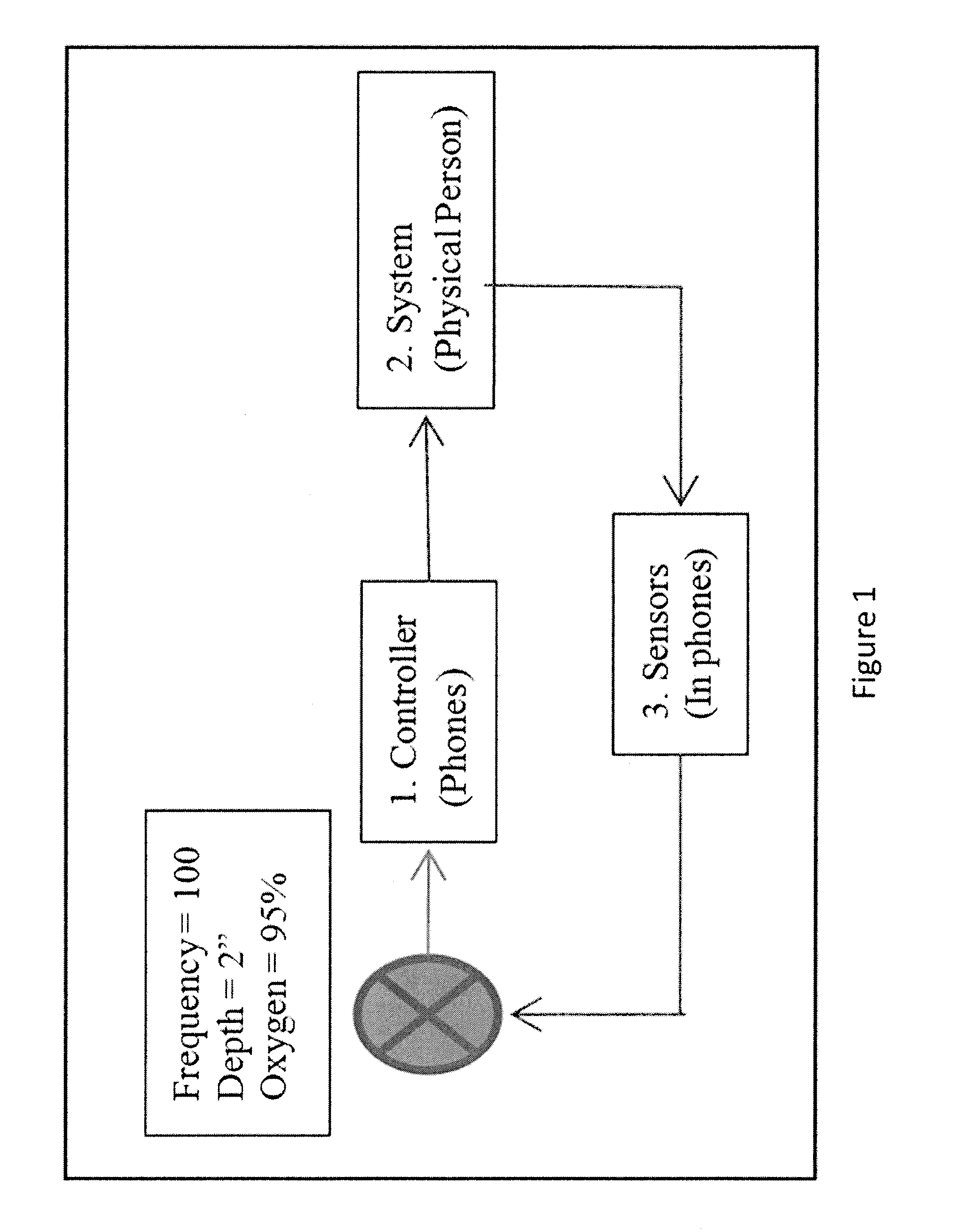
Effective cpr procedure with real time evaluation and feedback using smartphones
授权日:
1900-01-01
公开(公告)号:
US20150351647A1
申请日:
2015-04-30
公开(公告)日:
2015-12-10
当前申请(专利权)人:
UNIVERSITY OF NORTH TEXAS
发明人:
DANTU, RAMANAMURTHY | GUPTA, NEERAJ | DANTU, VISHNU | MORGAN, ZACHARY
简单同族:
US20150351647A1
简单同族成员数量:
1
简单同族被引用专利总数:
11
诉讼案件数:
0
法律状态/事件:
撤回 | 权利转移