首页
专利数据库
产业人才
行业动态
产业政策法规
维权援助
个人中心
登录/注册
详情
文本
图像
标题:
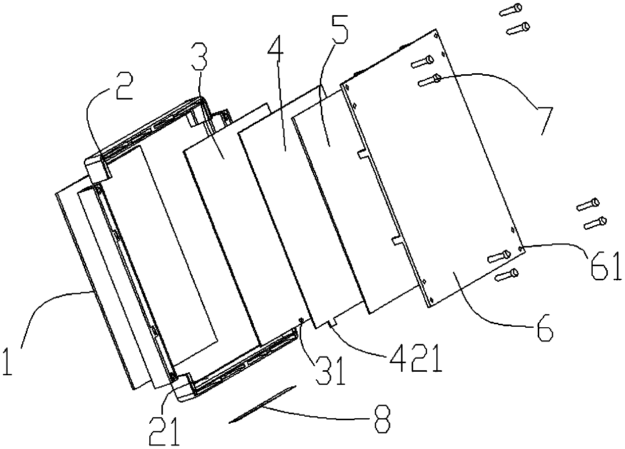
一种耐低温的液晶屏模组
授权日:
2020-02-11
公开(公告)号:
CN210051981U
申请日:
2019-06-10
公开(公告)日:
2020-02-11
当前申请(专利权)人:
深圳市新天源电子有限公司
发明人:
王后勤 | 杜知清
简单同族:
CN210051981U
简单同族成员数量:
1
简单同族被引用专利总数:
0
诉讼案件数:
0
法律状态/事件:
授权