标题:
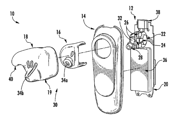
Physiological monitoring methods
授权日:
2015-01-27
公开(公告)号:
US8942776
申请日:
2014-06-06
公开(公告)日:
2015-01-27
当前申请(专利权)人:
VALENCELL, INC.
发明人:
LEBOEUF, STEVEN FRANCIS | TUCKER, JESSE BERKLEY | AUMER, MICHAEL EDWARD | JUST, STEVEN MATTHEW
简单同族:
US20130131519A1 | US20140249381A1 | US20140288394A1 | US20150080741A1 | US20150119657A1 | US20180192950A1 | US20180228435A1 | US20190099130A1 | US8788002 | US8929965 | US8942776 | US9289175 | US9955919
简单同族成员数量:
13
简单同族被引用专利总数:
213
诉讼案件数:
0
法律状态/事件:
授权 | 无效程序