标题:
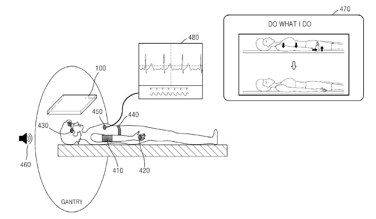
Method and apparatus for providing content related to capture of medical image
授权日:
1900-01-01
公开(公告)号:
US20190204398A1
申请日:
2019-03-11
公开(公告)日:
2019-07-04
当前申请(专利权)人:
SAMSUNG ELECTRONICS CO., LTD.
发明人:
LEE, DAE-HO | ZHO, SANG-YOUNG | KIM, JOON-SOO
简单同族:
EP2862515A1 | EP2862515B1 | EP3075319A2 | EP3075319A3 | EP3075319B1 | KR101623834B1 | KR1020150018238A | US10274552 | US20150045654A1 | US20170269173A1 | US20190204398A1 | US9753103
简单同族成员数量:
12
简单同族被引用专利总数:
11
诉讼案件数:
0
法律状态/事件:
公开