首页
专利数据库
产业人才
行业动态
产业政策法规
维权援助
个人中心
登录/注册
详情
文本
图像
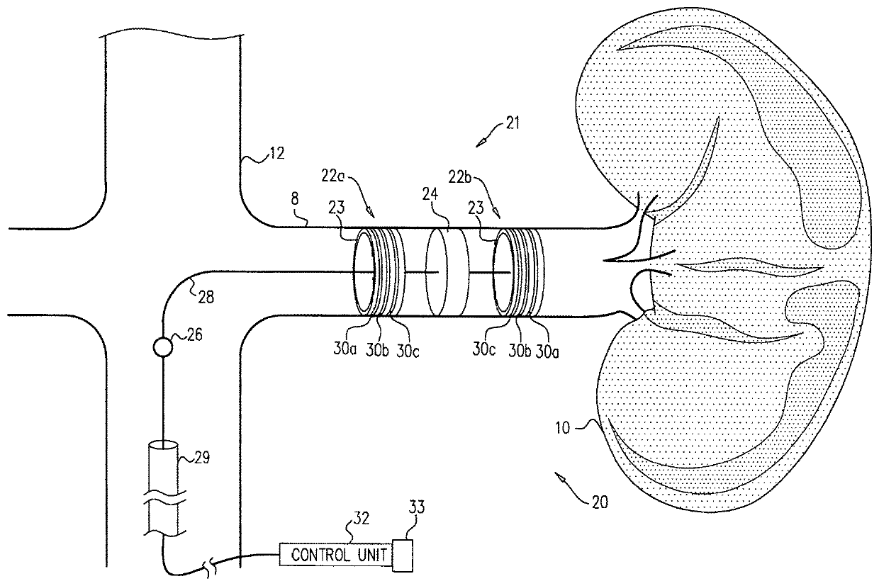
标题:
Controlled tissue ablation techniques
授权日:
2019-11-19
公开(公告)号:
US10478249
申请日:
2015-05-07
公开(公告)日:
2019-11-19
当前申请(专利权)人:
PYTHAGORAS MEDICAL LTD.
发明人:
GROSS, YOSSI | MEIRY, GIDEON | ZADOK, YEHUDA
简单同族:
CN106659531A | EP3139853A1 | EP3139853B1 | US10478249 | US20170215950A1 | WO2015170281A1
简单同族成员数量:
6
简单同族被引用专利总数:
16
诉讼案件数:
0
法律状态/事件:
授权 | 权利转移