首页
专利数据库
产业人才
行业动态
产业政策法规
维权援助
个人中心
登录/注册
详情
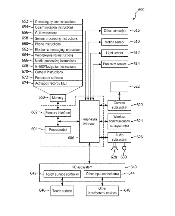
文本
图像
标题:
Dynamic wearable device behavior based on schedule detection
授权日:
1900-01-01
公开(公告)号:
US20180000414A1
申请日:
2015-12-18
公开(公告)日:
2018-01-04
当前申请(专利权)人:
KONINKLIJKE PHILIPS N.V.
发明人:
LOWET, DIETWIG JOS CLEMENT | CRONIN, JOHN
简单同族:
CN107106030A | EP3232907A1 | JP2018511090A | US20180000414A1 | WO2016097376A1 | WO2016097381A1
简单同族成员数量:
6
简单同族被引用专利总数:
11
诉讼案件数:
0
法律状态/事件:
实质审查 | 权利转移