标题:
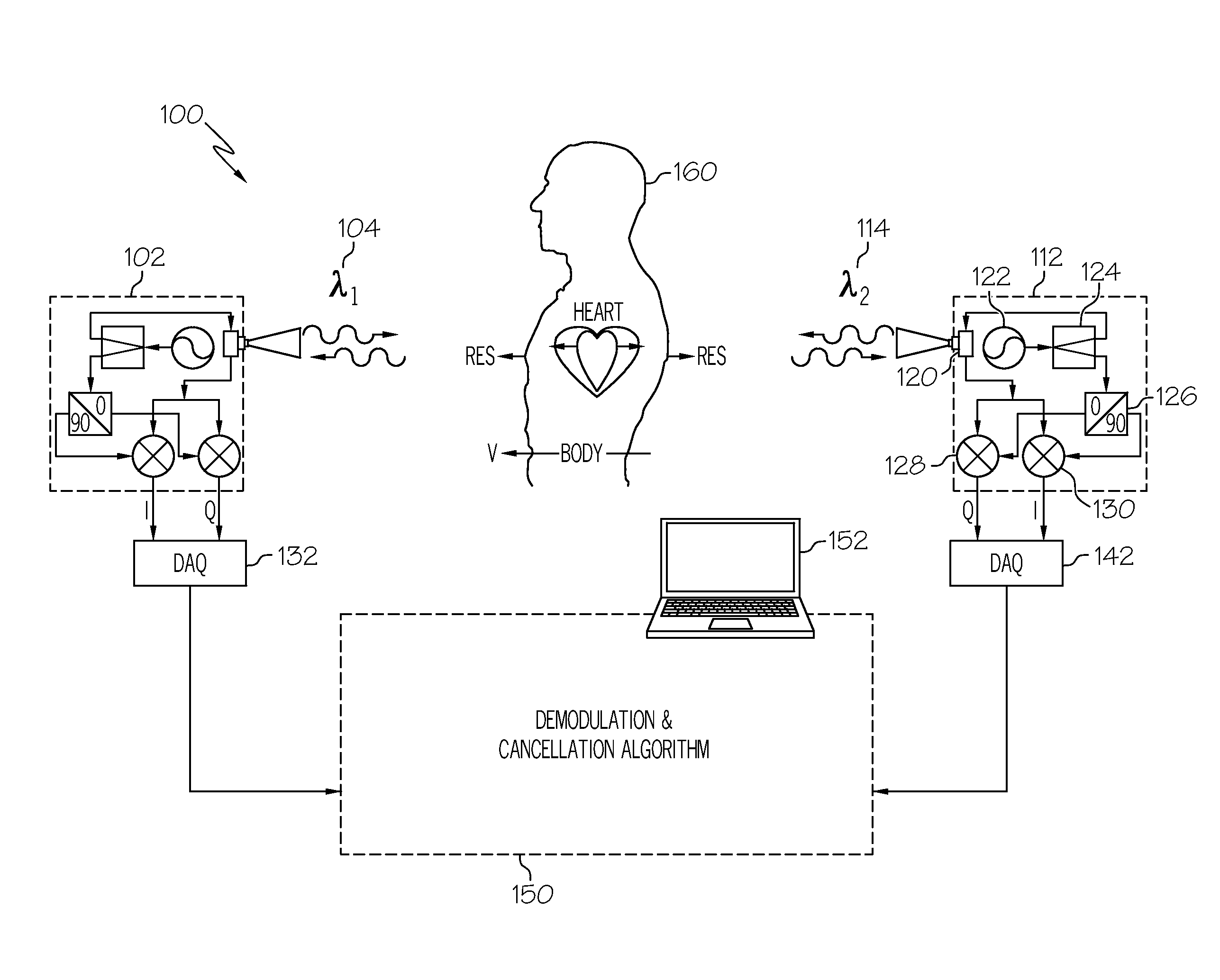
Random body movement cancellation for non-contact vital sign detection
授权日:
2016-10-25
公开(公告)号:
US9477812
申请日:
2014-05-13
公开(公告)日:
2016-10-25
当前申请(专利权)人:
UNIVERSITY OF FLORIDA RESEARCH FOUNDATION, INC.
发明人:
LIN, JENSHAN | LI, CHANGZHI | LIU, YA-CHI
简单同族:
US20100198083A1 | US20140330540A1 | US20160374622A1 | US8721554 | US9477812 | US9924906 | WO2009009722A2 | WO2009009722A3
简单同族成员数量:
8
简单同族被引用专利总数:
67
诉讼案件数:
0
法律状态/事件:
授权 | 权利转移