首页
专利数据库
产业人才
行业动态
产业政策法规
维权援助
个人中心
登录/注册
详情
文本
图像
标题:
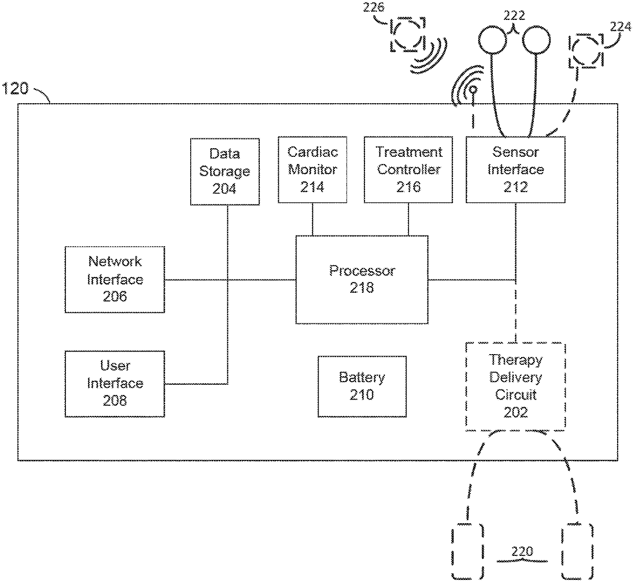
Medical devices with rapid sensor recovery
授权日:
2020-05-12
公开(公告)号:
US10646707
申请日:
2017-11-30
公开(公告)日:
2020-05-12
当前申请(专利权)人:
ZOLL MEDICAL CORPORATION
发明人:
VOLOSIN, KENT | VOLPE, SHANE S. | FREEMAN, GARY A.
简单同族:
US10646707 | US20190160278A1 | WO2019108597A1
简单同族成员数量:
3
简单同族被引用专利总数:
0
诉讼案件数:
0
法律状态/事件:
授权 | 权利转移