首页
专利数据库
产业人才
行业动态
产业政策法规
维权援助
个人中心
登录/注册
详情
文本
图像
标题:
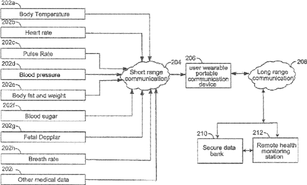
User wearable portable communication device for collection and transmission of physiological data
授权日:
2017-01-17
公开(公告)号:
US9545230
申请日:
2013-09-12
公开(公告)日:
2017-01-17
当前申请(专利权)人:
SADHU, RAJENDRA PADMA
发明人:
SADHU, RAJENDRA PADMA
简单同族:
US20120041278A1 | US20140073881A1 | US20170119319A1 | US8568313 | US9545230
简单同族成员数量:
5
简单同族被引用专利总数:
111
诉讼案件数:
0
法律状态/事件:
授权