首页
专利数据库
产业人才
行业动态
产业政策法规
维权援助
个人中心
登录/注册
详情
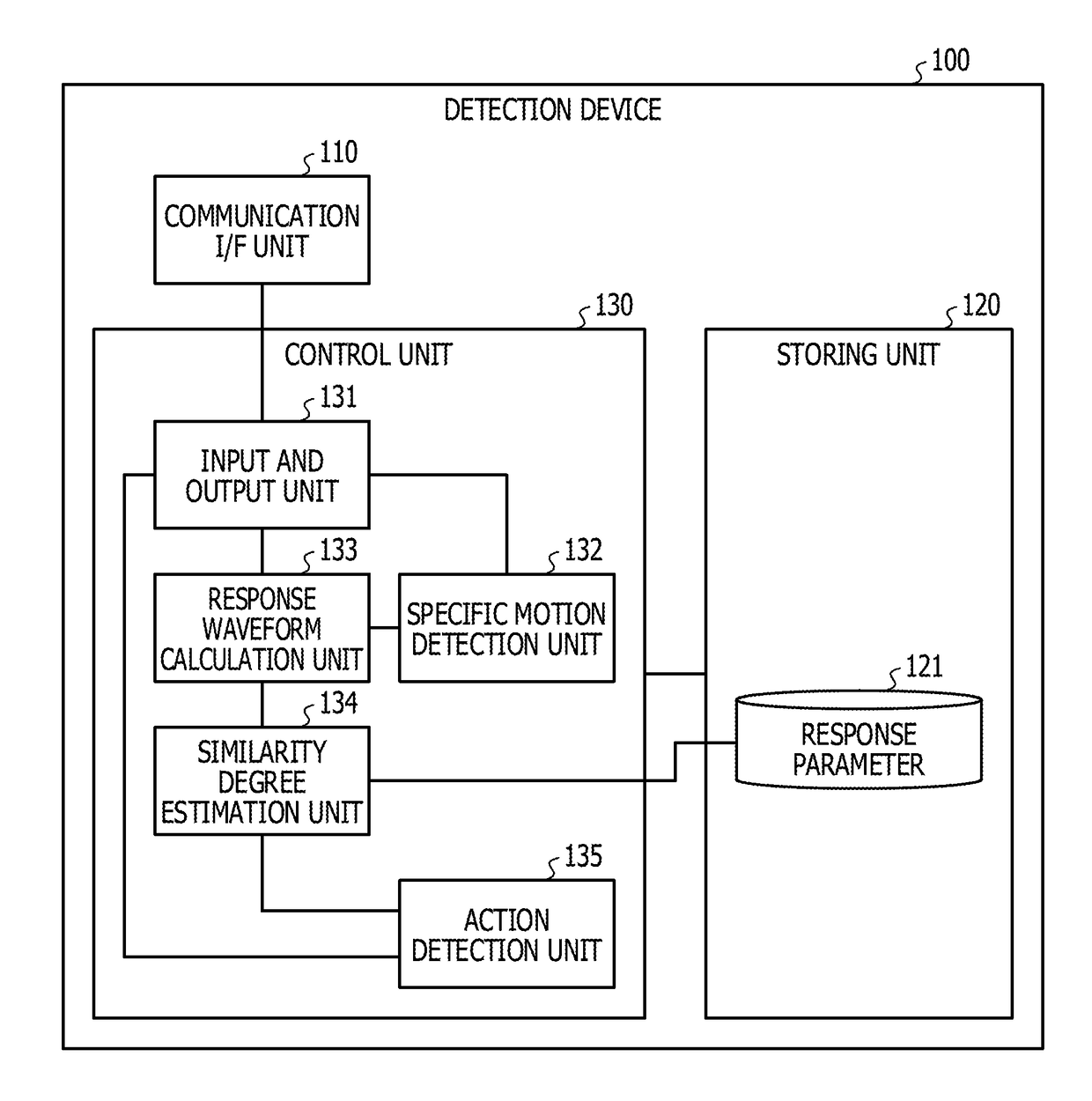
文本
图像
标题:
Meal detection method, meal detection system, and storage medium
授权日:
1900-01-01
公开(公告)号:
US20180368764A1
申请日:
2018-06-08
公开(公告)日:
2018-12-27
当前申请(专利权)人:
FUJITSU LIMITED
发明人:
MORI, TATSUYA | MAEDA, KAZUHO | HOTTA, SHINJI | INOMATA, AKIHIRO
简单同族:
EP3417767A1 | JP2019005232A | US20180368764A1
简单同族成员数量:
3
简单同族被引用专利总数:
0
诉讼案件数:
0
法律状态/事件:
实质审查 | 权利转移