标题:
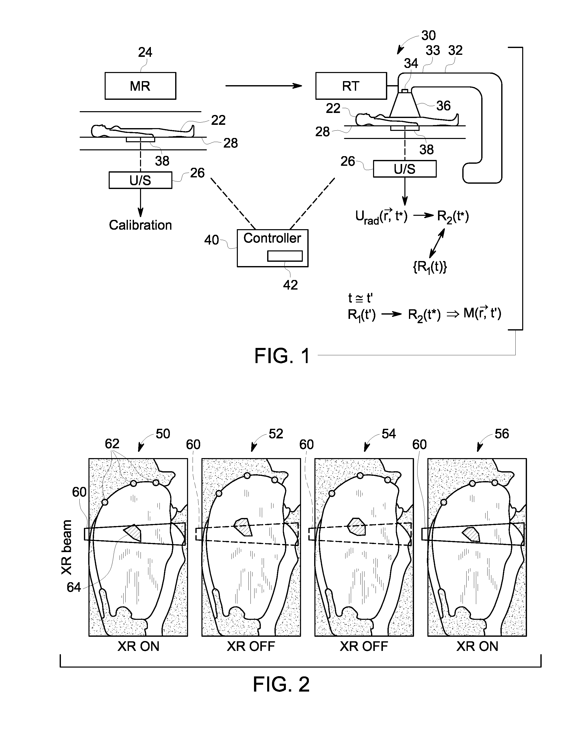
Methods and systems to determine respiratory phase and motion state during guided radiation therapy
授权日:
1900-01-01
公开(公告)号:
US20170014645A1
申请日:
2016-09-27
公开(公告)日:
2017-01-19
当前申请(专利权)人:
GENERAL ELECTRIC COMPANY
发明人:
FOO, THOMAS KWOK-FAH | SMITH, LOWELL SCOTT | THOMENIUS, KAI ERIK | GUPTA, SANDEEP NARENDRA | MARINELLI, LUCA | PATWARDHAN, KEDAR ANIL | GRAZIANI, DOMINIC MICHAEL
简单同族:
US20170014645A1
简单同族成员数量:
1
简单同族被引用专利总数:
0
诉讼案件数:
0
法律状态/事件:
实质审查 | 权利转移