标题:
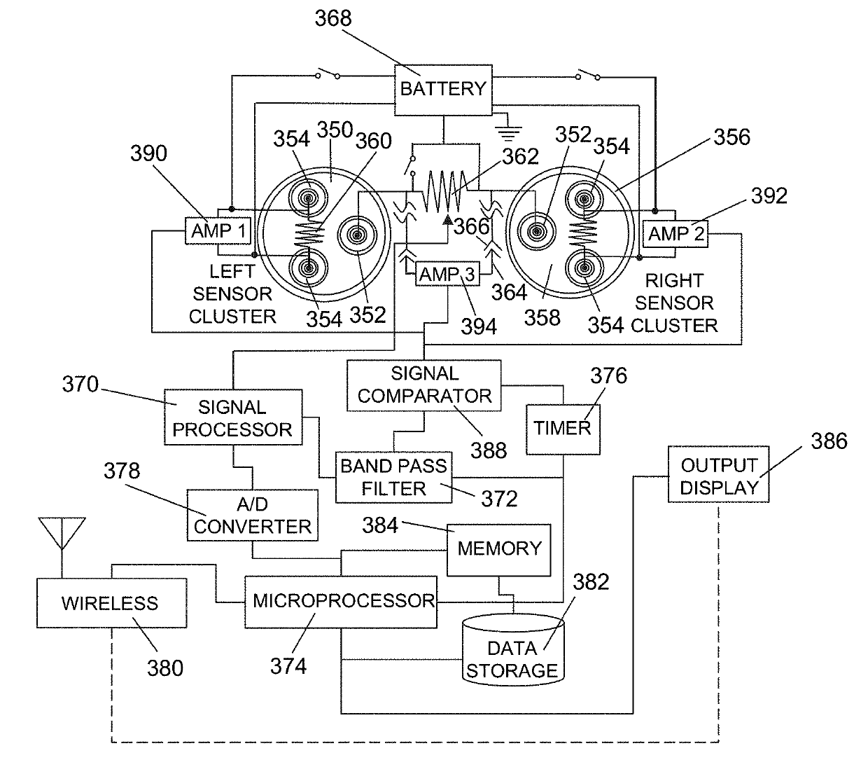
Method and apparatus for the measurement of autonomic function for the diagnosis and validation of patient treatments and outcomes
授权日:
2019-08-13
公开(公告)号:
US10376203
申请日:
2016-01-10
公开(公告)日:
2019-08-13
当前申请(专利权)人:
DULLEN, DEBORAH
发明人:
DULLEN, DEBORAH
简单同族:
AU2016205022A1 | BR112017014694A2 | CA2972290A1 | CL201701797A1 | CN107106053A | EP3242589A1 | EP3242589A4 | HK1245051A | IL252975D0 | JP2018507078A | JP2018507078A5 | KR1020170102004A | MX2017008947A | PH12017501253A1 | RU2017127704A | RU2017127704A3 | RU2722748C2 | SG11201705499VA | US10376203 | US20160198996A1 | US20190336069A1 | US20200000401A1 | WO2016112373A1
简单同族成员数量:
23
简单同族被引用专利总数:
16
诉讼案件数:
0
法律状态/事件:
授权