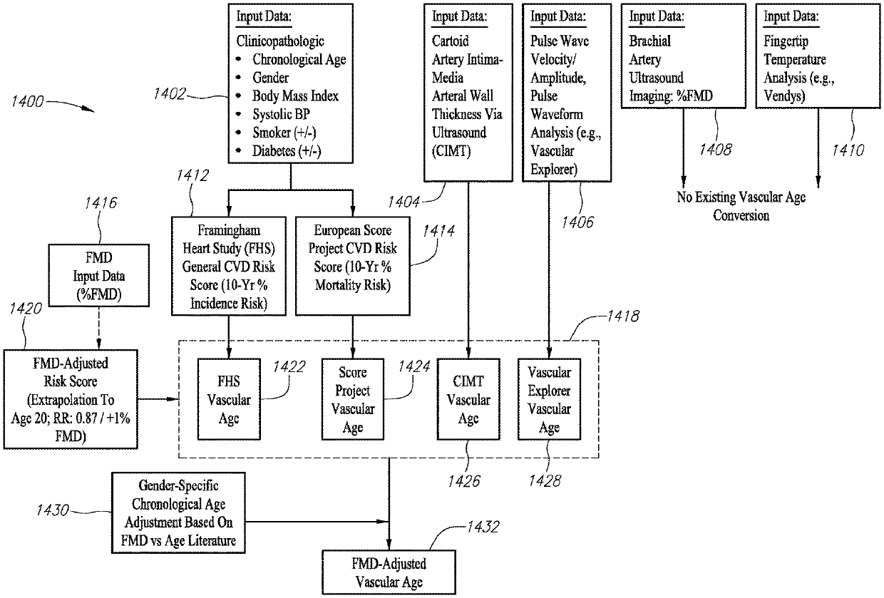
标题:
System and method for using flow-mediated dilation to provide an adjusted vascular age as an indicator of risk of cardiovascular disease
授权日:
2020-02-25
公开(公告)号:
US10568582
申请日:
2014-03-13
公开(公告)日:
2020-02-25
当前申请(专利权)人:
EVERIST GENOMICS, INC.
发明人:
LENEHAN, PETER F. | EVERIST, III, THOMAS STEPHEN
简单同族:
AU2014243720A1 | AU2014243720B2 | BR112015023253A2 | CA2904631A1 | CN105283120A | CN105283120B | EP2967362A1 | EP2967362A4 | EP2967362B1 | ES2715102T3 | HK1220336A | HK1220336A1 | IL240932A | IL240932D0 | JP2016515878A | JP2016515878A5 | JP6549094B2 | KR1020150137060A | MX2015012585A | RU2015143711A | RU2015143711A3 | SG11201506960XA | TR201903691T4 | US10568582 | US20160029972A1 | WO2014160515A1
简单同族成员数量:
26
简单同族被引用专利总数:
9
诉讼案件数:
0
法律状态/事件:
授权 | 权利转移