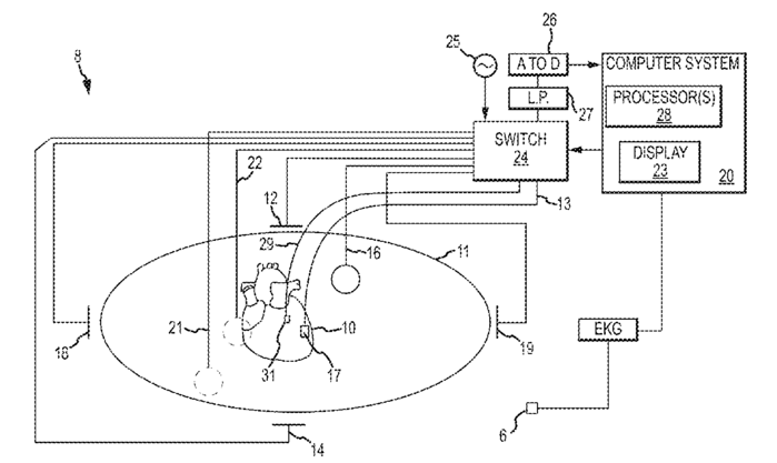
标题:
Methods and systems for identifying and mapping cardiac activation wavefronts
授权日:
2018-02-13
公开(公告)号:
US9888860
申请日:
2016-08-31
公开(公告)日:
2018-02-13
当前申请(专利权)人:
ST. JUDE MEDICAL, CARDIOLOGY DIVISION, INC.
发明人:
HAN, DONGFENG | AFONSO, VALTINO X. | YANG, CHIN-ANN | MORGAN, DENNIS J. | PAPPONE, CARLO
简单同族:
CN108348155A | CN108348155B | EP3344124A1 | EP3344124B1 | JP2018526107A | JP6445739B2 | US10687721 | US20170055864A1 | US20180125383A1 | US9888860 | WO2017040581A1
简单同族成员数量:
11
简单同族被引用专利总数:
8
诉讼案件数:
0
法律状态/事件:
授权 | 权利转移