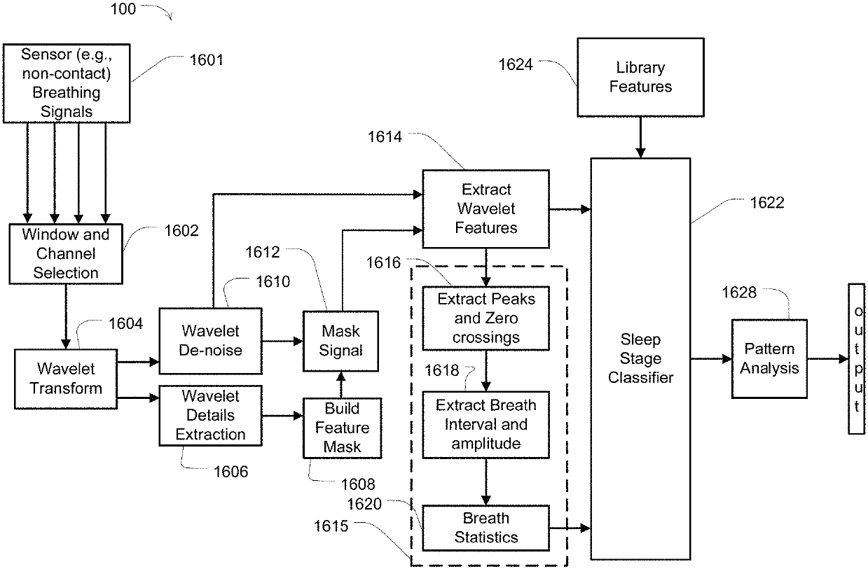
标题:
System and method for determining sleep stage
授权日:
2020-05-26
公开(公告)号:
US10660563
申请日:
2013-09-19
公开(公告)日:
2020-05-26
当前申请(专利权)人:
RESMED SENSOR TECHNOLOGIES LIMITED
发明人:
MCDARBY, GARETH | O'HARE, EMER | PHILLIPS, PAUL | HENEGHAN, CONOR | MURRAY, TREVOR
简单同族:
AU2013318046A1 | AU2013318046B2 | AU2016204561A1 | AU2016204561B2 | CA2883656A1 | CN104812300A | CN104812300B | CN107647868A | EP2897526A1 | EP2897526A4 | JP2015532855A | JP2019048054A | JP6404819B2 | KR1020150058344A | KR1020200032248A | KR102091167B1 | NZ630602A | NZ630602B | NZ725344A | NZ725344B | US10492720 | US10660563 | US20140088373A1 | US20150230750A1 | WO2014047310A1 | WO2014047310A4
简单同族成员数量:
26
简单同族被引用专利总数:
81
诉讼案件数:
0
法律状态/事件:
授权 | 权利转移