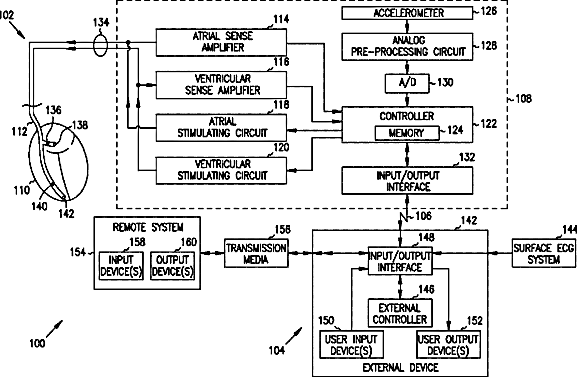
标题:
Apparatus and method for outputting heart sounds
授权日:
2014-12-09
公开(公告)号:
US8905942
申请日:
2013-11-14
公开(公告)日:
2014-12-09
当前申请(专利权)人:
CARDIAC PACEMAKERS, INC.
发明人:
SCHEINER, AVRAM | ZHU, QINGSHENG | OLIVE, ARTHUR L. | VILLALTA, DON
简单同族:
US20020151812A1 | US20050137490A1 | US20110105933A1 | US20120209130A1 | US20130289425A1 | US20140073980A1 | US20150088005A1 | US7052466 | US7883470 | US8167811 | US8478391 | US8663123 | US8905942
简单同族成员数量:
13
简单同族被引用专利总数:
165
诉讼案件数:
0
法律状态/事件:
授权