标题:
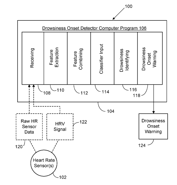
Drowsiness onset detection
授权日:
1900-01-01
公开(公告)号:
US20170172520A1
申请日:
2015-12-18
公开(公告)日:
2017-06-22
当前申请(专利权)人:
MICROSOFT TECHNOLOGY LICENSING, LLC
发明人:
KANNAN, AADHARSH | RAMASWAMY, GOVIND | GUJJAR, AVINASH | BHASKAR, SRINIVAS
简单同族:
AU2016370291A1 | BR112018010809A2 | CA3003765A1 | CL201801551A1 | CN108366732A | CO20180006480A2 | EP3389474A1 | HK1257858A | IL259253D0 | JP2019509076A | KR1020180094907A | MX2018007224A | PH12018550055A1 | RU2018121883A | RU2018121883A3 | SG11201804723WA | US10646168 | US20170172520A1 | US20180214089A1 | US9955925 | WO2017105976A1 | ZA201802905B
简单同族成员数量:
22
简单同族被引用专利总数:
13
诉讼案件数:
0
法律状态/事件:
授权 | 权利转移