标题:
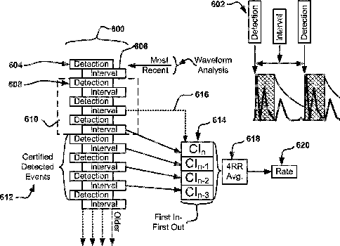
Methods and devices for accurately classifying cardiac activity
授权日:
2015-10-20
公开(公告)号:
US9162074
申请日:
2014-11-24
公开(公告)日:
2015-10-20
当前申请(专利权)人:
CAMERON HEALTH, INC.
发明人:
ALLAVATAM, VENUGOPAL | PALREDDY, SUREKHA | SANGHERA, RICK | WARREN, JAY A.
简单同族:
AU2009221696A1 | AU2009221696B2 | CA2717446A1 | CA2717446C | CN102065948A | CN102065948B | EP2268357A2 | EP2268357B1 | EP2574371A1 | EP2574371B1 | EP2574372A1 | EP2574372B1 | EP2574372B8 | ES2503240T3 | ES2525691T3 | ES2605653T3 | JP2011528239A | JP2011528239A5 | JP2013248530A | JP5562260B2 | JP5588554B2 | US10220219 | US20090259271A1 | US20100094369A1 | US20120197147A1 | US20130006085A1 | US20140046204A1 | US20140094868A1 | US20150088214A1 | US20160236001A1 | US20180126182A1 | US20190217109A1 | US8160686 | US8265749 | US8588896 | US8626280 | US8929977 | US9162074 | US9339662 | US9878172 | WO2009111766A2 | WO2009111766A3
简单同族成员数量:
42
简单同族被引用专利总数:
153
诉讼案件数:
0
法律状态/事件:
授权