首页
专利数据库
产业人才
行业动态
产业政策法规
维权援助
个人中心
登录/注册
详情
文本
图像
标题:
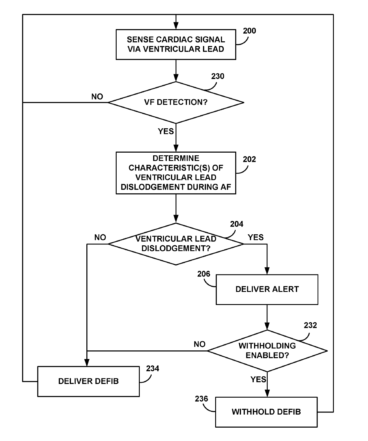
Detecting lead dislodgement during atrial fibrillation
授权日:
1900-01-01
公开(公告)号:
US20190091469A1
申请日:
2018-11-27
公开(公告)日:
2019-03-28
当前申请(专利权)人:
MEDTRONIC, INC. (CVG)
发明人:
GUNDERSON, BRUCE D.
简单同族:
US10137297 | US20170274204A1 | US20190091469A1
简单同族成员数量:
3
简单同族被引用专利总数:
4
诉讼案件数:
0
法律状态/事件:
实质审查 | 权利转移