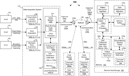
标题:
Method and system for processing information based on detected biometric event data
授权日:
2016-02-23
公开(公告)号:
US9268876
申请日:
2013-05-28
公开(公告)日:
2016-02-23
当前申请(专利权)人:
AVAGO TECHNOLOGIES INTERNATIONAL SALES PTE. LIMITED
发明人:
MACINNIS, ALEXANDER | BEHZAD, ARYA | BUER, MARK | KARAOGUZ, JEYHAN | QUIGLEY, THOMAS | WALLEY, JOHN
简单同族:
US20090023422A1 | US20130262491A1 | US20160132586A1 | US8457595 | US9268876
简单同族成员数量:
5
简单同族被引用专利总数:
87
诉讼案件数:
0
法律状态/事件:
授权 | 质押 | 权利转移