首页
专利数据库
产业人才
行业动态
产业政策法规
维权援助
个人中心
登录/注册
详情
文本
图像
标题:
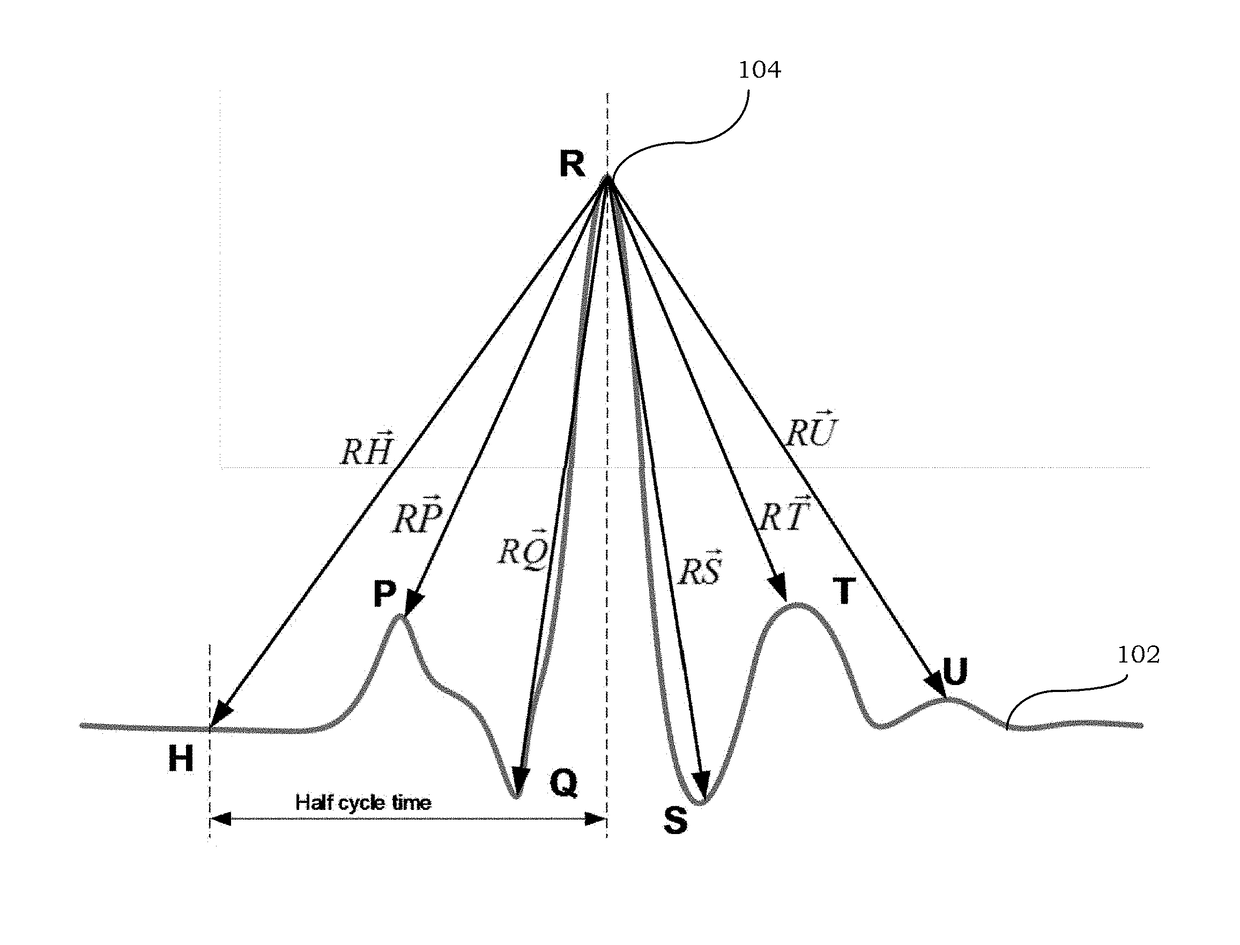
Patient signal analysis based on vector analysis
授权日:
2018-12-11
公开(公告)号:
US10149625
申请日:
2018-04-20
公开(公告)日:
2018-12-11
当前申请(专利权)人:
SIEMENS HEALTHCARE GMBH
发明人:
ZHANG, HONGXUAN
简单同族:
US10010256 | US10149625 | US20160135703A1 | US20170273586A1 | US20170273587A1 | US20180235493A1 | US9782092 | US9949653
简单同族成员数量:
8
简单同族被引用专利总数:
5
诉讼案件数:
0
法律状态/事件:
授权 | 权利转移