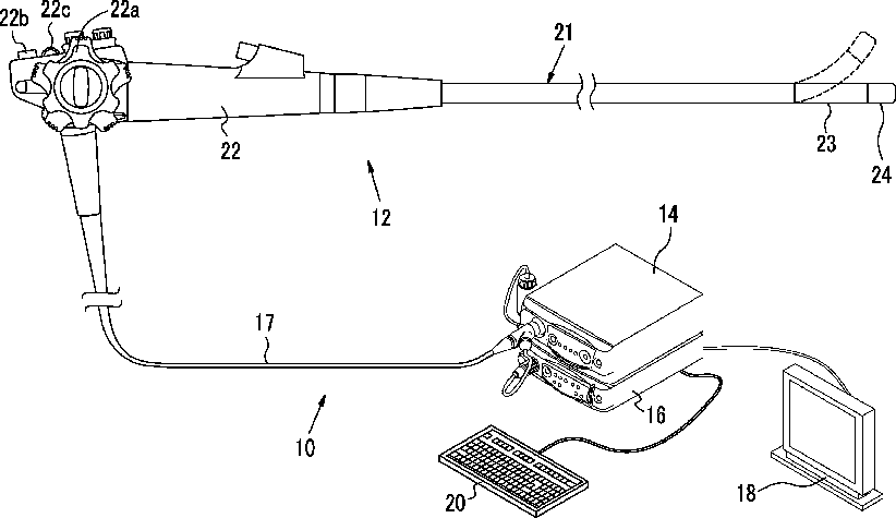
标题:
Endoscope system, processor device for endoscope system, operation method for endoscope system, and operation method for processor device
授权日:
1900-01-01
公开(公告)号:
US20150216460A1
申请日:
2015-01-06
公开(公告)日:
2015-08-06
当前申请(专利权)人:
FUJIFILM CORPORATION
发明人:
SHIGETA, NORIMASA
简单同族:
EP2904956A1 | EP2904956B1 | JP2015146924A | JP5977772B2 | US10022074 | US20150216460A1
简单同族成员数量:
6
简单同族被引用专利总数:
9
诉讼案件数:
0
法律状态/事件:
授权 | 权利转移