标题:
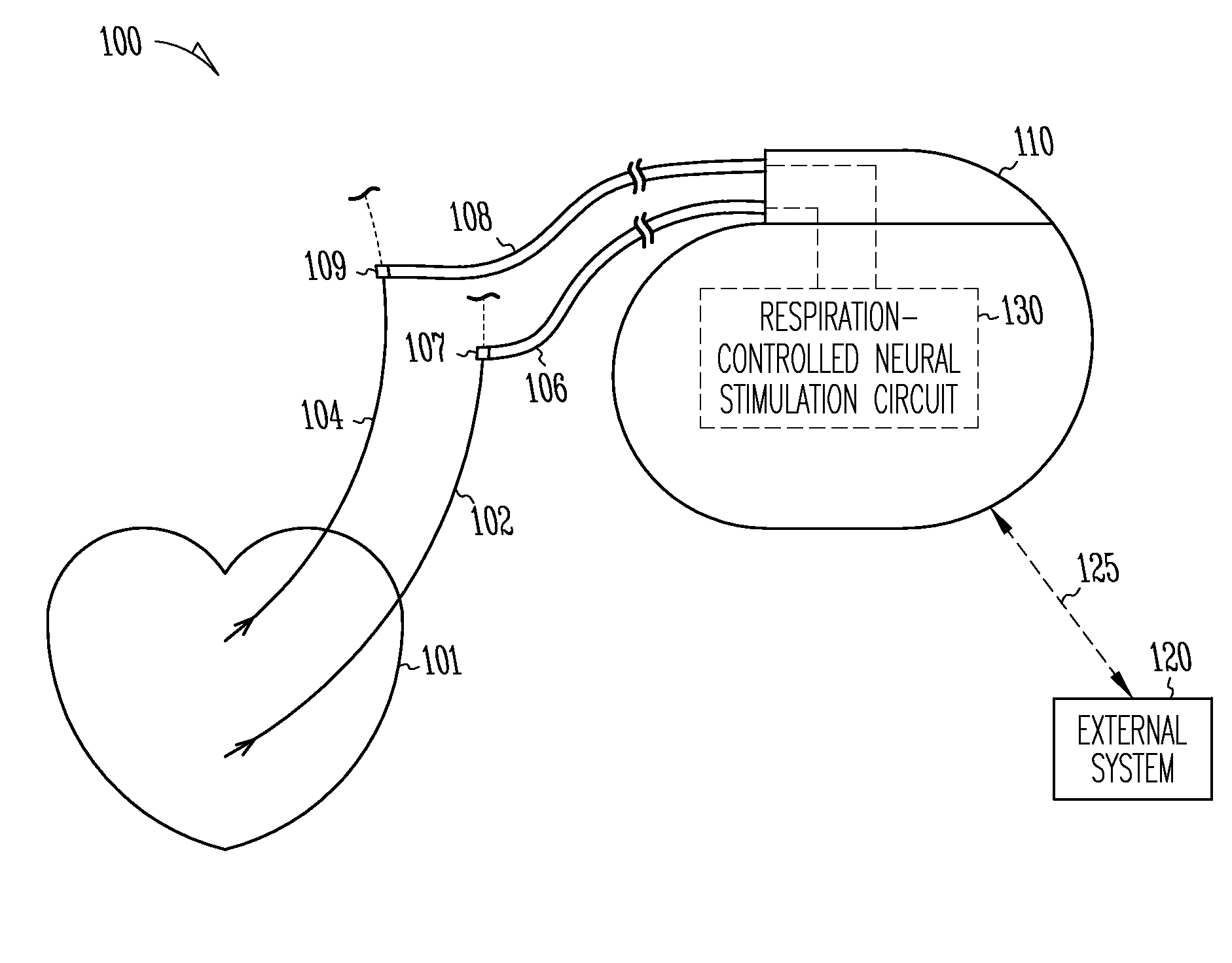
Method and apparatus for neural stimulation with respiratory feedback
授权日:
2014-12-30
公开(公告)号:
US8923971
申请日:
2013-09-30
公开(公告)日:
2014-12-30
当前申请(专利权)人:
CARDIAC PACEMAKERS, INC.
发明人:
HAEFNER, PAUL A. | JAMES, KRISTOFER J. | LEE, KENT | LIBBUS, IMAD | CAPARSO, ANTHONY V. | KWOK, JONATHAN | PU, YACHUAN
简单同族:
AU2007290571A1 | AU2007290571B2 | EP2076314A2 | EP2076314B1 | JP2010502282A | JP2010502282A5 | JP5389650B2 | US20080058892A1 | US20120130446A1 | US20140025141A1 | US8121692 | US8554323 | US8923971 | WO2008027339A2 | WO2008027339A3
简单同族成员数量:
15
简单同族被引用专利总数:
74
诉讼案件数:
0
法律状态/事件:
授权