首页
专利数据库
产业人才
行业动态
产业政策法规
维权援助
个人中心
登录/注册
详情
文本
图像
标题:
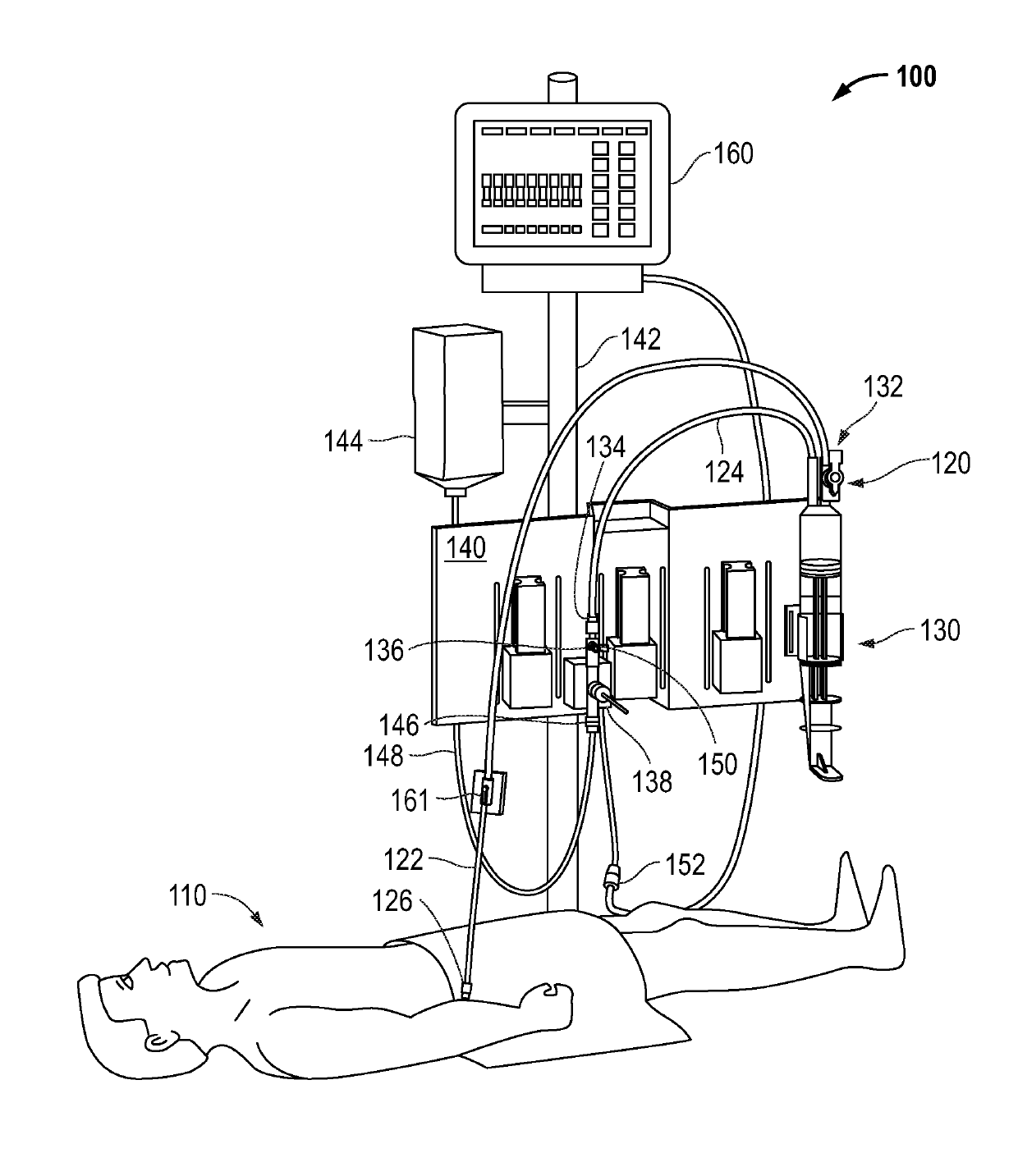
Pressure sensor signal correction in a blood pressure monitoring system
授权日:
1900-01-01
公开(公告)号:
US20190133532A1
申请日:
2018-10-30
公开(公告)日:
2019-05-09
当前申请(专利权)人:
EDWARDS LIFESCIENCES CORPORATION
发明人:
WINE, JASON A. | SIEMONS, ALEXANDER H. | SHEVGOOR, SIDDARTH KAMATH
简单同族:
US20190133532A1 | WO2019094251A1
简单同族成员数量:
2
简单同族被引用专利总数:
0
诉讼案件数:
0
法律状态/事件:
实质审查 | 权利转移