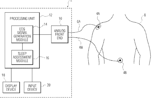
标题:
Method and apparatus for providing a visual representation of sleep quality based on ECG signals
授权日:
2018-10-02
公开(公告)号:
US10085687
申请日:
2017-02-03
公开(公告)日:
2018-10-02
当前申请(专利权)人:
KONINKLIJKE PHILIPS N.V.
发明人:
BABAEIZADEH, SAEED | ZHOU, SOPHIA HUAI
简单同族:
CN104321013A | CN104321013B | EP2827767A1 | JP2015510810A | JP2015510810A5 | JP6275109B2 | US10085687 | US20150032017A1 | US20170143255A1 | US9566032 | WO2013140324A1
简单同族成员数量:
11
简单同族被引用专利总数:
11
诉讼案件数:
0
法律状态/事件:
授权