标题:
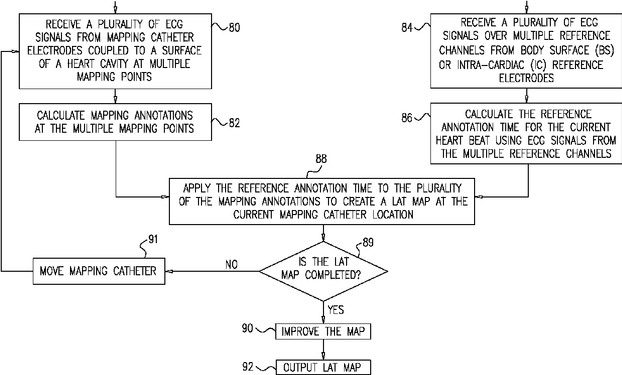
Determination of reference annotation time from multi-channel electro-cardiogram signals
授权日:
2016-02-16
公开(公告)号:
US9259165
申请日:
2014-02-26
公开(公告)日:
2016-02-16
当前申请(专利权)人:
BIOSENSE WEBSTER (ISRAEL) LTD.
发明人:
RUBINSTEIN, VLADIMIR | BAR-TAL, MEIR
简单同族:
AU2015200840A1 | AU2015200840B2 | CA2882970A1 | CN104856668A | CN104856668B | EP2912997A1 | EP2912997B1 | IL236969A | JP2015160138A | JP6559439B2 | US20150238102A1 | US9259165
简单同族成员数量:
12
简单同族被引用专利总数:
9
诉讼案件数:
0
法律状态/事件:
授权 | 权利转移