首页
专利数据库
产业人才
行业动态
产业政策法规
维权援助
个人中心
登录/注册
详情
文本
图像
标题:
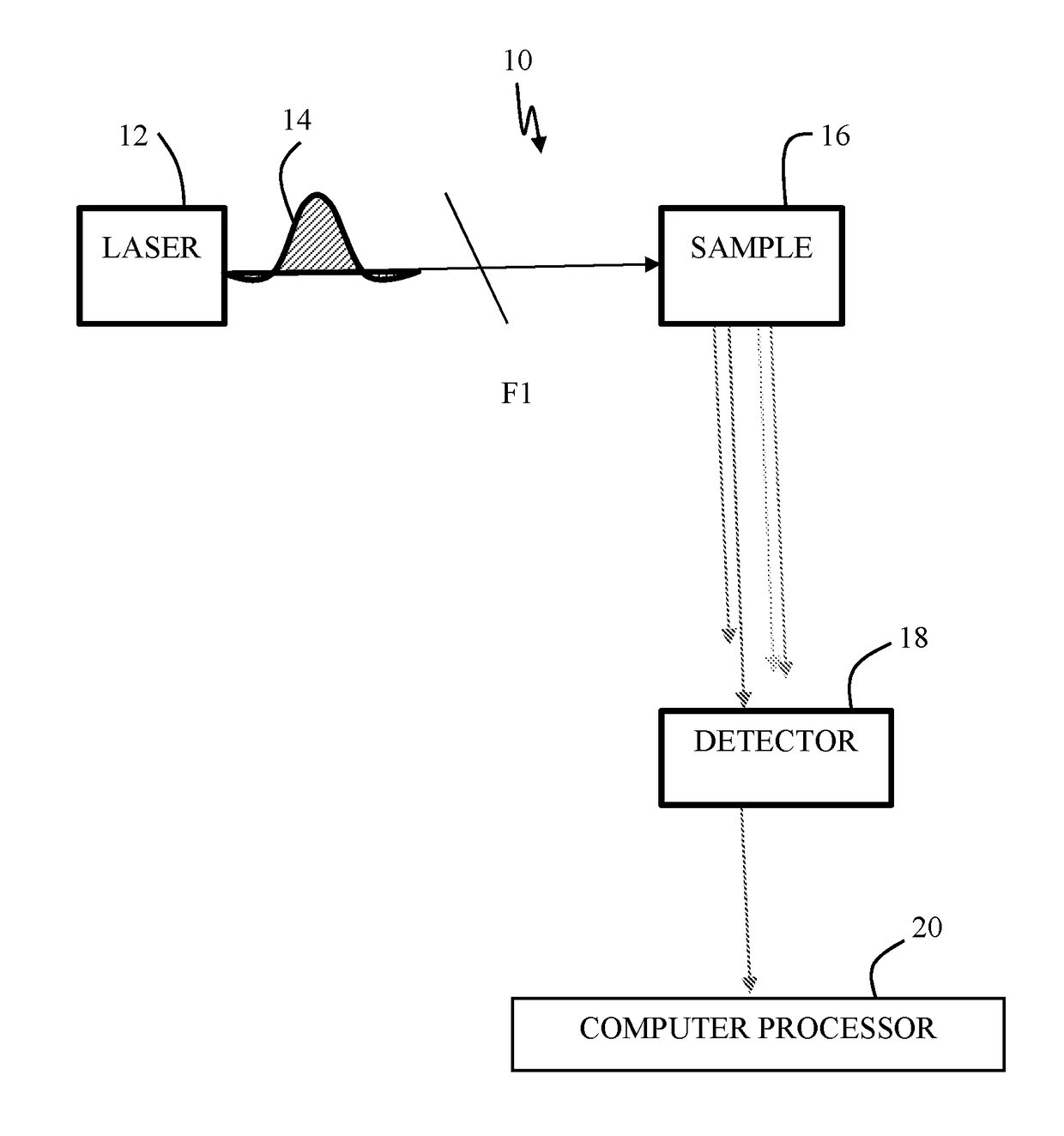
Time resolved near infrared remission spectroscopy for noninvasive in vivo blood and tissue analysis
授权日:
1900-01-01
公开(公告)号:
US20180353080A1
申请日:
2016-12-07
公开(公告)日:
2018-12-13
当前申请(专利权)人:
SYRACUSE UNIVERSITY
发明人:
CHAIKEN, JOSEPH | GOODISMAN, JERRY
简单同族:
US20180353080A1 | WO2017100280A1
简单同族成员数量:
2
简单同族被引用专利总数:
0
诉讼案件数:
0
法律状态/事件:
实质审查