标题:
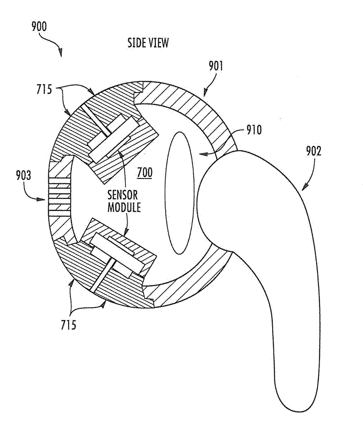
Headsets with angled sensor modules
授权日:
1900-01-01
公开(公告)号:
US20190053764A1
申请日:
2018-10-24
公开(公告)日:
2019-02-21
当前申请(专利权)人:
VALENCELL, INC.
发明人:
LEBOEUF, STEVEN FRANCIS | TUCKER, JESSE BERKLEY | AUMER, MICHAEL EDWARD | ROMESBURG, ERIC DOUGLAS | MORRIS, JOSEPH NORMAN
简单同族:
EP2667768A2 | EP2667768A4 | EP2667768B1 | EP3248539A1 | HK1186647A | HK1186647A1 | HK1242542A | US20120197093A1 | US20150031967A1 | US20160374621A1 | US20180055450A1 | US20190053764A1 | US8888701 | WO2012103273A2 | WO2012103273A3
简单同族成员数量:
15
简单同族被引用专利总数:
215
诉讼案件数:
0
法律状态/事件:
实质审查