首页
专利数据库
产业人才
行业动态
产业政策法规
维权援助
个人中心
登录/注册
详情
文本
图像
标题:
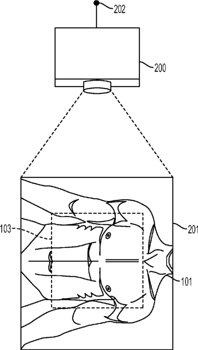
Generating a respiration gating signal from a video
授权日:
1900-01-01
公开(公告)号:
US20170055920A1
申请日:
2015-08-27
公开(公告)日:
2017-03-02
当前申请(专利权)人:
XEROX CORPORATION
发明人:
MESTHA, LALIT KESHAV | BHARADWAJ, SANJAY | PRASAD, PRATHOSH A. | BENGALI, TEJASKUMAR D. | MADHU, HIMANSHU J. | KUPPUSWAMY, SURESH
简单同族:
US20170055920A1
简单同族成员数量:
1
简单同族被引用专利总数:
0
诉讼案件数:
0
法律状态/事件:
撤回 | 权利转移