首页
专利数据库
产业人才
行业动态
产业政策法规
维权援助
个人中心
登录/注册
详情
文本
图像
标题:
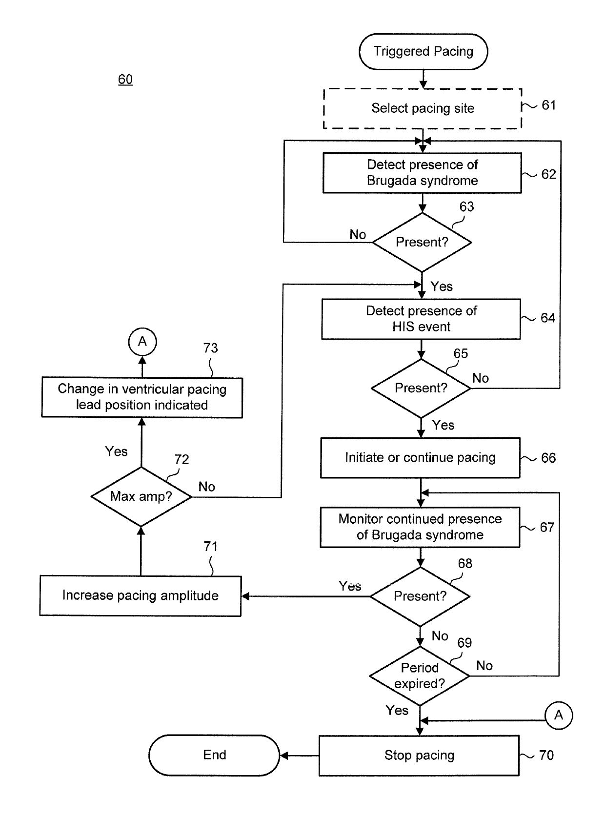
System for treating Brugada syndrome
授权日:
2019-12-03
公开(公告)号:
US10493284
申请日:
2018-03-23
公开(公告)日:
2019-12-03
当前申请(专利权)人:
NEWSTIM, INC.
发明人:
ORTEGA, DANIEL FELIPE | BARJA, LUIS DANTE
简单同族:
EP3381509A1 | US10493284 | US20180280701A1 | US20200101295A1
简单同族成员数量:
4
简单同族被引用专利总数:
0
诉讼案件数:
0
法律状态/事件:
授权 | 权利转移