标题:
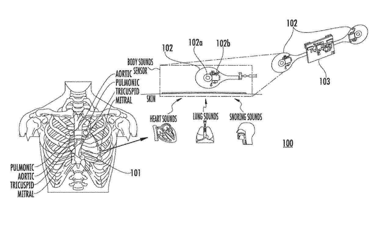
System and method of extraction of the heart valve signals
授权日:
1900-01-01
公开(公告)号:
US20190133481A1
申请日:
2019-01-01
公开(公告)日:
2019-05-09
当前申请(专利权)人:
AVENTUSOFT, LLC
发明人:
KALE, KAUSTUBH | GIRALDO, LUIS GONZALO SANCHEZ
简单同族:
US10165985 | US10362997 | US10531839 | US20170188862A1 | US20170188866A1 | US20170188868A1 | US20170188869A1 | US20190133481A1 | US20190343466A1
简单同族成员数量:
9
简单同族被引用专利总数:
11
诉讼案件数:
0
法律状态/事件:
实质审查 | 权利转移