首页
专利数据库
产业人才
行业动态
产业政策法规
维权援助
个人中心
登录/注册
详情
文本
图像
标题:
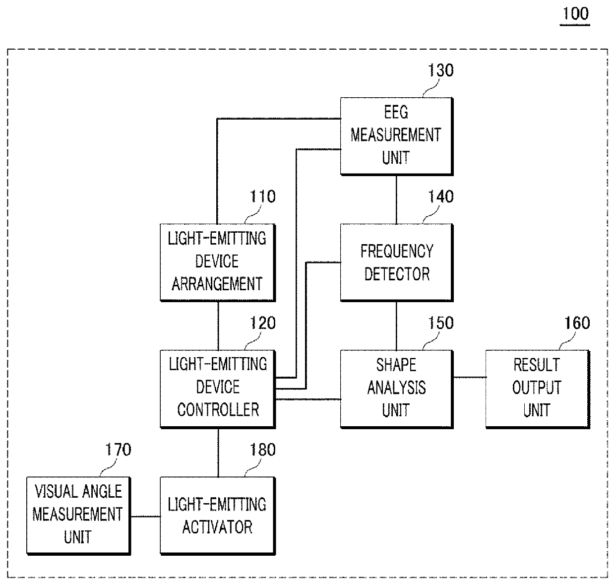
EEG-based brain-machine interface apparatus and method for recognizing human-intention using flickering visual stimulus
授权日:
2020-01-07
公开(公告)号:
US10524683
申请日:
2015-10-16
公开(公告)日:
2020-01-07
当前申请(专利权)人:
KOREA UNIVERSITY RESEARCH AND BUSINESS FOUNDATION
发明人:
MIN, BYOUNG-KYONG
简单同族:
US10524683 | US20160192858A1
简单同族成员数量:
2
简单同族被引用专利总数:
0
诉讼案件数:
0
法律状态/事件:
授权 | 权利转移