标题:
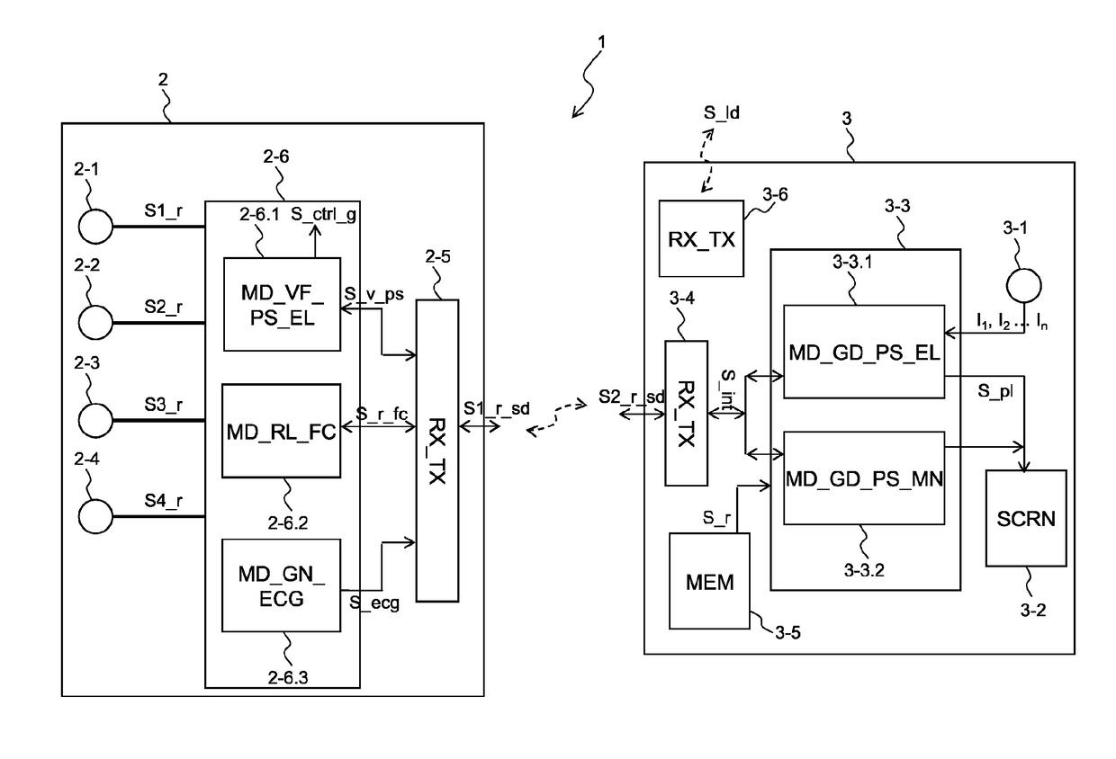
Electronic system to control the acquisition of an electrocardiogram
授权日:
2019-03-12
公开(公告)号:
US10226195
申请日:
2016-05-25
公开(公告)日:
2019-03-12
当前申请(专利权)人:
D-HEART S.R.L.
发明人:
BRIANTE, NICOL | MAURIZI, NICCOL
简单同族:
AU2016281828A1 | BR112017027977A2 | CA2982903A1 | CN107454831A | EP3310251A1 | EP3310251B1 | IL254305D0 | JP2018519899A | KR1020180018489A | MX2017012653A | RU2017135267A | RU2017135267A3 | RU2713804C2 | US10226195 | US20180049659A1 | WO2016207745A1 | ZA201706507B
简单同族成员数量:
17
简单同族被引用专利总数:
5
诉讼案件数:
0
法律状态/事件:
授权 | 权利转移