首页
专利数据库
产业人才
行业动态
产业政策法规
维权援助
个人中心
登录/注册
详情
文本
图像
标题:
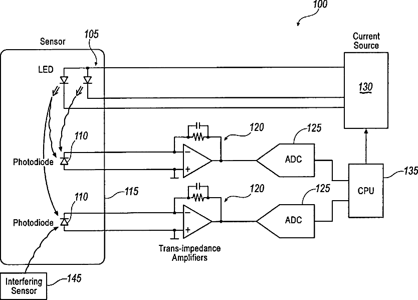
Non-interfering physiological sensor system
授权日:
1900-01-01
公开(公告)号:
US20130324818A1
申请日:
2013-08-02
公开(公告)日:
2013-12-05
当前申请(专利权)人:
COVIDIEN LP
发明人:
GONOPOLSKIY, OLEG | WIDMAN, RONALD A. | ANDERSON, ARIK
简单同族:
US20100087718A1 | US20130324818A1 | US8504130
简单同族成员数量:
3
简单同族被引用专利总数:
14
诉讼案件数:
0
法律状态/事件:
撤回