首页
专利数据库
产业人才
行业动态
产业政策法规
维权援助
个人中心
登录/注册
详情
文本
图像
标题:
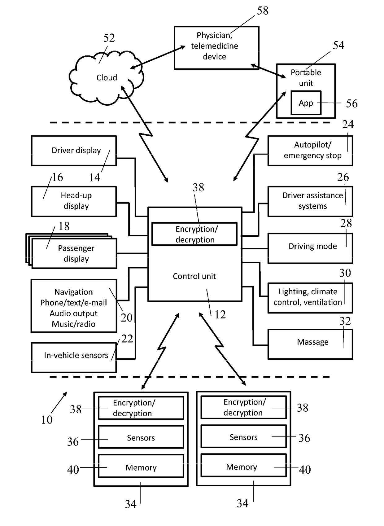
System and method for monitoring the state of health and/or the well-being of a vehicle occupant
授权日:
1900-01-01
公开(公告)号:
US20190061772A1
申请日:
2015-10-30
公开(公告)日:
2019-02-28
当前申请(专利权)人:
AUDI AG
发明人:
PRINZ, THOMAS
简单同族:
CN107107749A | DE102015105581A1 | EP3215014A1 | US20190061772A1 | WO2016070981A1
简单同族成员数量:
5
简单同族被引用专利总数:
67
诉讼案件数:
0
法律状态/事件:
撤回 | 权利转移