首页
专利数据库
产业人才
行业动态
产业政策法规
维权援助
个人中心
登录/注册
详情
文本
图像
标题:
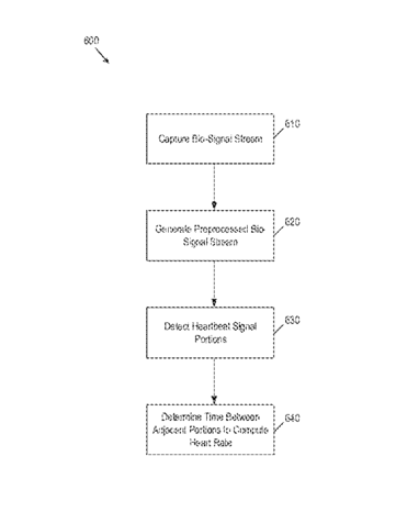
System, method and device for detecting heart rate
授权日:
2017-09-26
公开(公告)号:
US9770179
申请日:
2015-03-26
公开(公告)日:
2017-09-26
当前申请(专利权)人:
GESTURELOGIC INC.
发明人:
ETEMAD, SEYED ALI | MACEACHERN, LEONARD | KLIBANOV, MARK | HOUMANFAR, ROSHANAK
简单同族:
US20150272457A1 | US9770179
简单同族成员数量:
2
简单同族被引用专利总数:
7
诉讼案件数:
0
法律状态/事件:
授权 | 权利转移