标题:
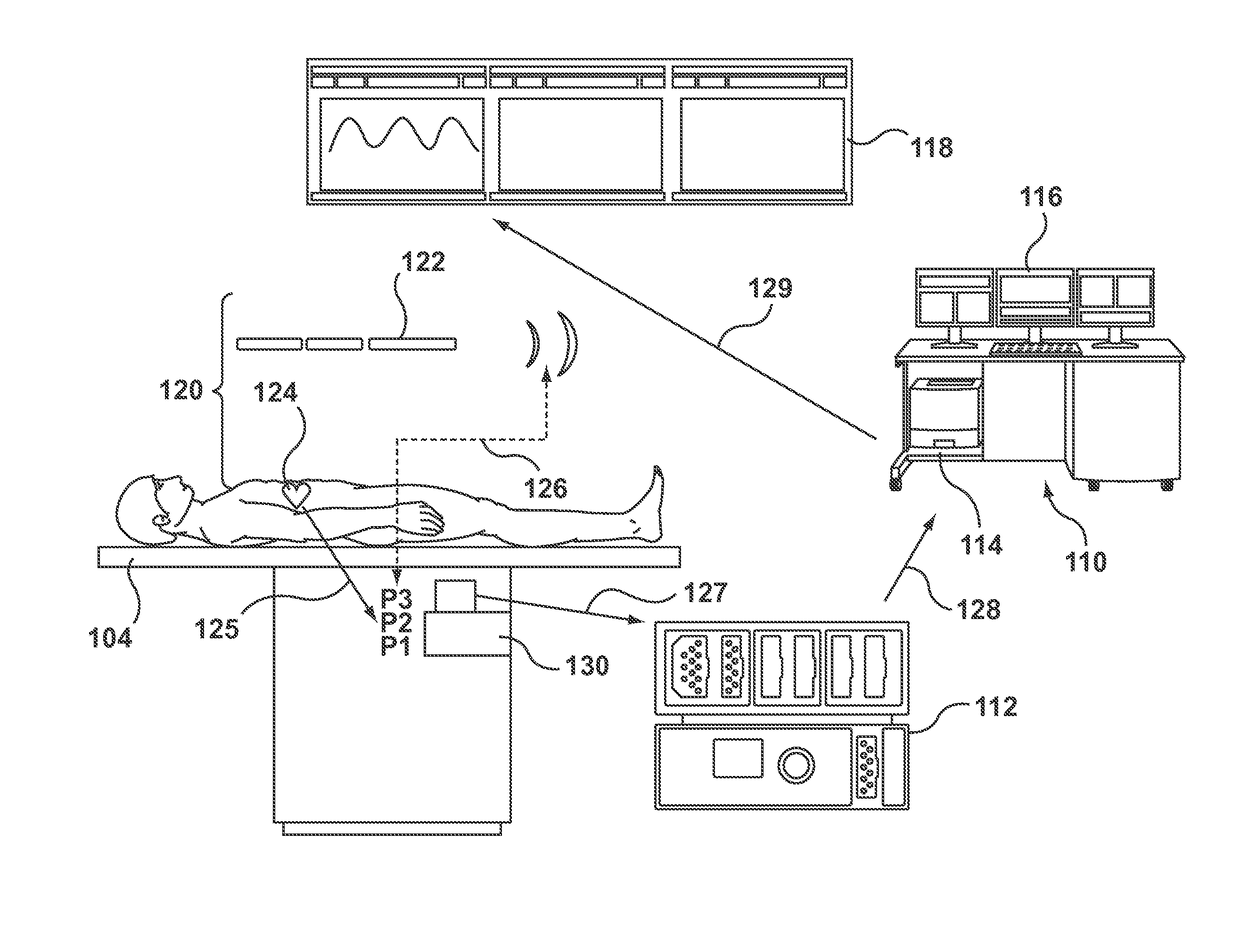
System and method of integrating a fractional flow reserve device with a conventional hemodynamic monitoring system
授权日:
2019-02-05
公开(公告)号:
US10194812
申请日:
2014-12-12
公开(公告)日:
2019-02-05
当前申请(专利权)人:
MEDTRONIC VASCULAR, INC.
发明人:
MCCAFFREY, GERRY | SWEENEY, FIACHRA | O'CONNELL, BARRY | MURPHY, CHRISTOPHER
简单同族:
EP3229675A1 | US10194812 | US20160166158A1 | WO2016094094A1
简单同族成员数量:
4
简单同族被引用专利总数:
5
诉讼案件数:
0
法律状态/事件:
授权 | 权利转移