首页
专利数据库
产业人才
行业动态
产业政策法规
维权援助
个人中心
登录/注册
详情
文本
图像
标题:
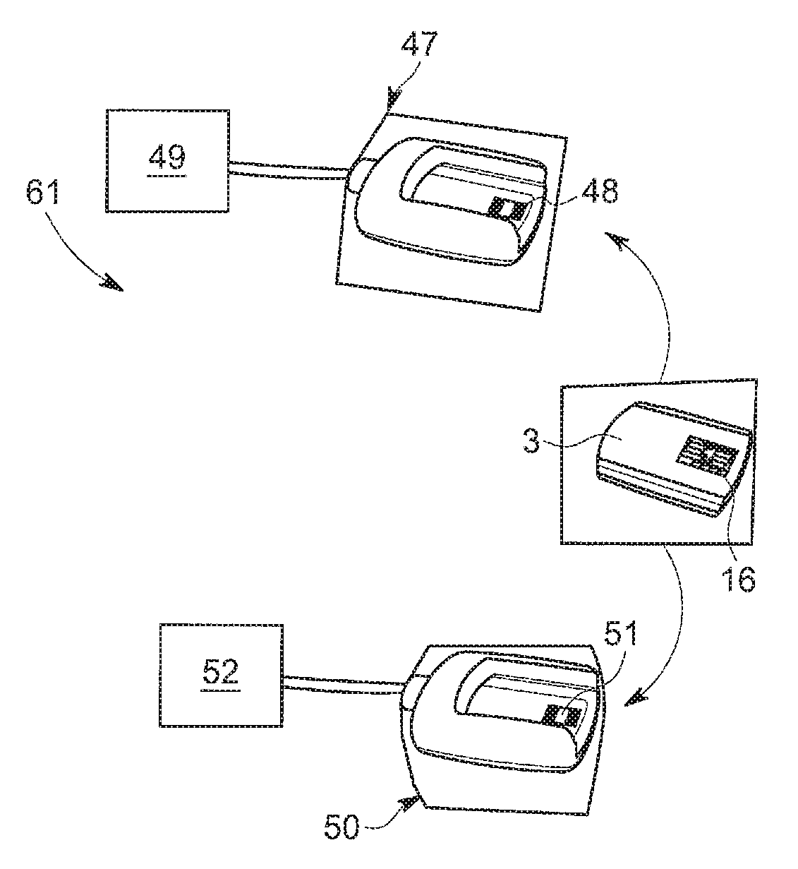
Interface for two-part wearable patient monitoring device
授权日:
2019-11-05
公开(公告)号:
US10463253
申请日:
2016-05-13
公开(公告)日:
2019-11-05
当前申请(专利权)人:
GENERAL ELECTRIC COMPANY
发明人:
VARTIOVAARA, VILLE PETTERI
简单同族:
US10463253 | US20170325684A1 | US20200029813A1
简单同族成员数量:
3
简单同族被引用专利总数:
4
诉讼案件数:
0
法律状态/事件:
授权 | 权利转移