首页
专利数据库
产业人才
行业动态
产业政策法规
维权援助
个人中心
登录/注册
详情
文本
图像
标题:
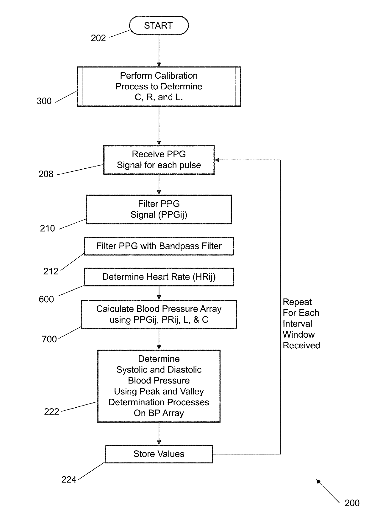
Non-invasive wearable blood pressure monitoring system
授权日:
2019-06-25
公开(公告)号:
US10327649
申请日:
2016-09-01
公开(公告)日:
2019-06-25
当前申请(专利权)人:
SENSOGRAM TECHNOLOGIES, INC
发明人:
MOURADIAN, VAHRAM | POGHOSYAN, ARMEN
简单同族:
US10327649
简单同族成员数量:
1
简单同族被引用专利总数:
0
诉讼案件数:
0
法律状态/事件:
授权 | 权利转移