首页
专利数据库
产业人才
行业动态
产业政策法规
维权援助
个人中心
登录/注册
详情
文本
图像
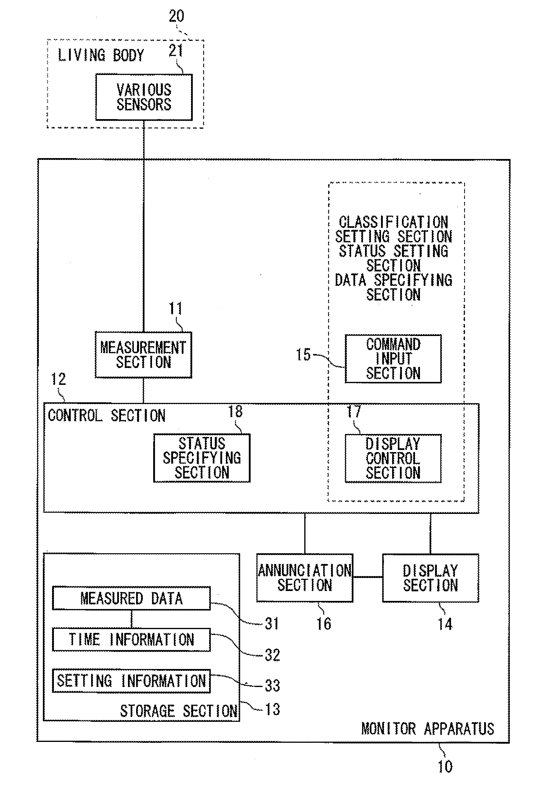
标题:
Monitor
授权日:
1900-01-01
公开(公告)号:
US20140012096A1
申请日:
2013-07-02
公开(公告)日:
2014-01-09
当前申请(专利权)人:
NIHON KOHDEN CORPORATION
发明人:
NOMURA, EI | TANISHIMA, MASAMI | HAGIWARA, HIROKO
简单同族:
CN103536274A | EP2685398A2 | EP2685398A3 | JP2014014495A | JP5927069B2 | US20140012096A1
简单同族成员数量:
6
简单同族被引用专利总数:
11
诉讼案件数:
0
法律状态/事件:
实质审查 | 权利转移