首页
专利数据库
产业人才
行业动态
产业政策法规
维权援助
个人中心
登录/注册
详情
文本
图像
标题:
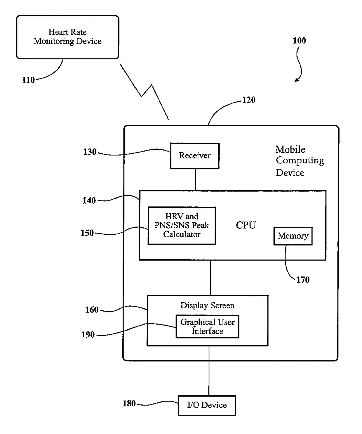
System, method, and article for heart rate variability monitoring
授权日:
2018-08-28
公开(公告)号:
US10058253
申请日:
2015-11-10
公开(公告)日:
2018-08-28
当前申请(专利权)人:
ZENMARK, LLC
发明人:
PARTON, WILLIAM | HOWELL, CHRIS
简单同族:
US10058253 | US20160128586A1
简单同族成员数量:
2
简单同族被引用专利总数:
5
诉讼案件数:
0
法律状态/事件:
授权 | 权利转移