首页
专利数据库
产业人才
行业动态
产业政策法规
维权援助
个人中心
登录/注册
详情
文本
图像
标题:
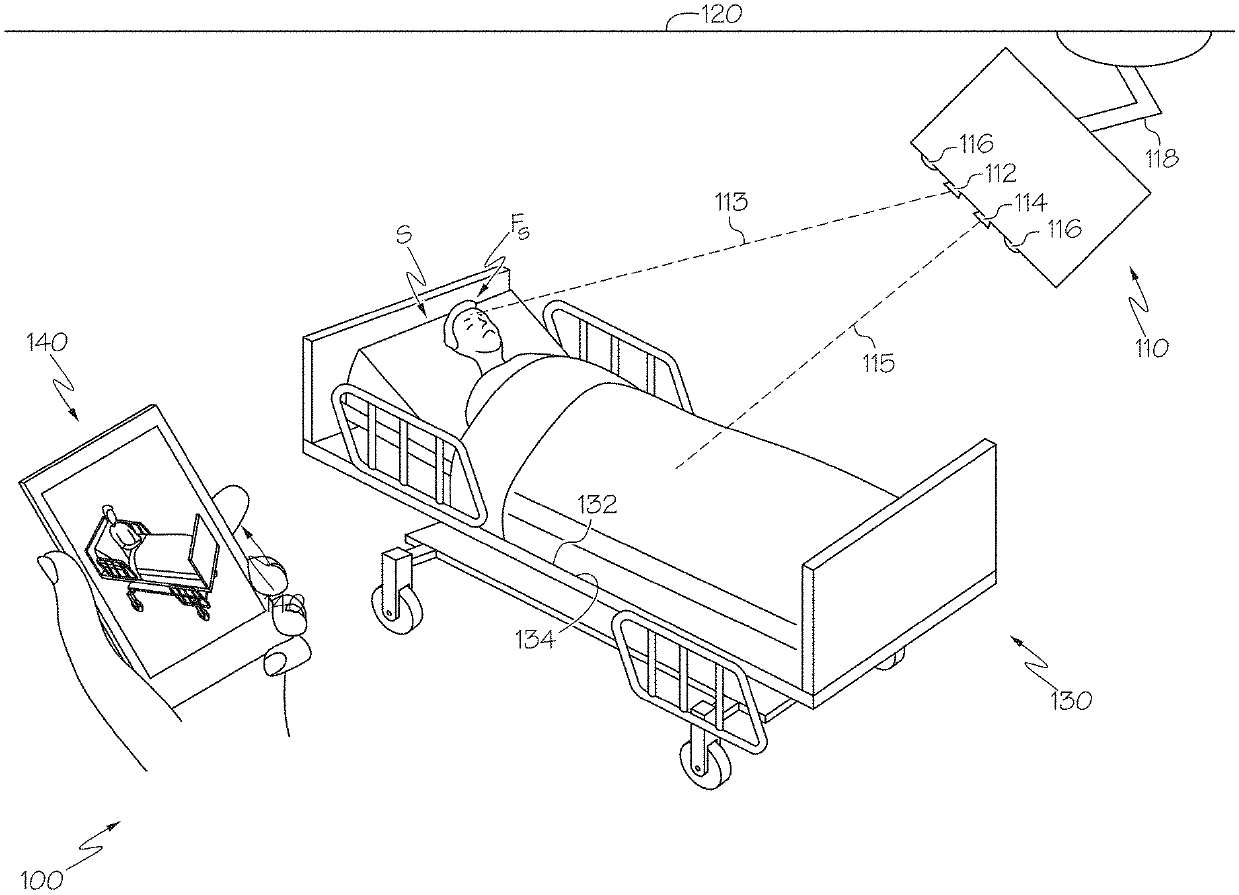
Systems and methods for determining subject positioning and vital signs
授权日:
1900-01-01
公开(公告)号:
US20200155040A1
申请日:
2019-11-11
公开(公告)日:
2020-05-21
当前申请(专利权)人:
HILL-ROM SERVICES, INC.
发明人:
SOREEFAN, IBNE | AGDEPPA, ERIC | FU, YONGJI
简单同族:
CN111195115A | EP3653112A1 | US20200155040A1
简单同族成员数量:
3
简单同族被引用专利总数:
0
诉讼案件数:
0
法律状态/事件:
公开