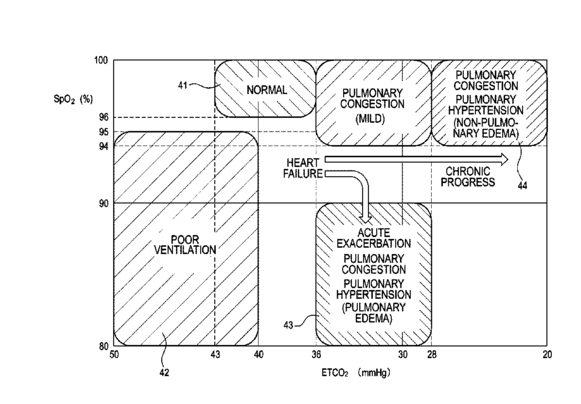
标题:
Monitoring apparatus
授权日:
2018-06-12
公开(公告)号:
US9993164
申请日:
2015-01-23
公开(公告)日:
2018-06-12
当前申请(专利权)人:
NIHON KOHDEN CORPORATION | NATIONAL CEREBRAL AND CARDIOVASCULAR CENTER
发明人:
TANISHIMA, MASAMI | YOSHIDA, TATSUO | UKAWA, TEIJI | KITAKAZE, MASAFUMI | SEGUCHI, OSAMU
简单同族:
CN104799836A | EP2898823A1 | EP2898823B1 | JP2015136568A | JP6422653B2 | US20150208927A1 | US9993164
简单同族成员数量:
7
简单同族被引用专利总数:
6
诉讼案件数:
0
法律状态/事件:
授权 | 权利转移