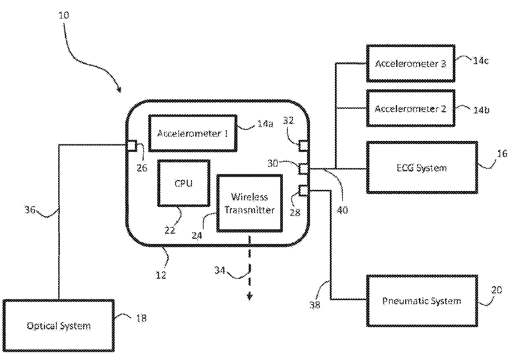
标题:
System for calibrating a blood pressure measurement based on vascular transit of a pulse wave
授权日:
1900-01-01
公开(公告)号:
US20180303355A1
申请日:
2018-06-25
公开(公告)日:
2018-10-25
当前申请(专利权)人:
SOTERA WIRELESS, INC.
发明人:
MCCOMBIE, DEVIN | ZHANG, GUANQUN
简单同族:
EP3182889A1 | EP3182889A4 | US10004409 | US20160143546A1 | US20180303355A1 | WO2016029196A1
简单同族成员数量:
6
简单同族被引用专利总数:
13
诉讼案件数:
0
法律状态/事件:
实质审查 | 权利转移