首页
专利数据库
产业人才
行业动态
产业政策法规
维权援助
个人中心
登录/注册
详情
文本
图像
标题:
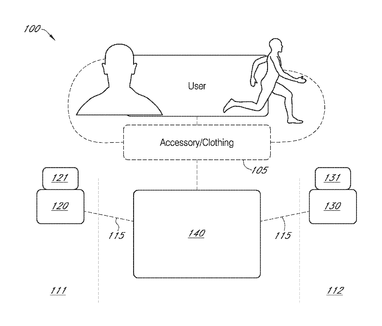
Systems and methods for detecting and analyzing biosignals
授权日:
2019-07-02
公开(公告)号:
US10335083
申请日:
2016-07-21
公开(公告)日:
2019-07-02
当前申请(专利权)人:
KETEYIAN, COURTLAND KEITH | KIM, JINYONG
发明人:
KETEYIAN, COURTLAND KEITH | KIM, JINYONG
简单同族:
US10335083 | US20170020454A1
简单同族成员数量:
2
简单同族被引用专利总数:
7
诉讼案件数:
0
法律状态/事件:
授权