首页
专利数据库
产业人才
行业动态
产业政策法规
维权援助
个人中心
登录/注册
详情
文本
图像
标题:
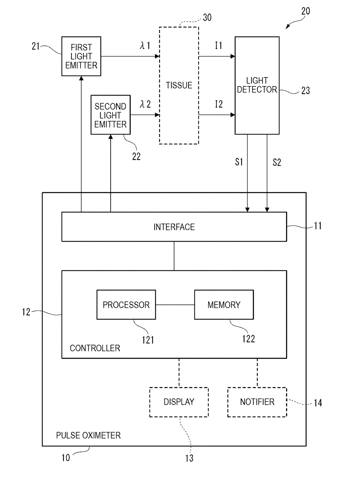
Pulse oximeter
授权日:
1900-01-01
公开(公告)号:
US20190059823A1
申请日:
2018-08-23
公开(公告)日:
2019-02-28
当前申请(专利权)人:
NIHON KOHDEN CORPORATION
发明人:
SUZUKI, TETSUO
简单同族:
JP2019037713A | US20190059823A1
简单同族成员数量:
2
简单同族被引用专利总数:
0
诉讼案件数:
0
法律状态/事件:
实质审查 | 权利转移